Слив-перелив для ванны
Слив-перелив для ванны является устройством, с помощью которого происходит контроль уровня наполнения чаши. На днище и стенке изделия предусмотрены сливные отверстия, через которые отводится лишняя жидкость в канализационную трубу. В нашем каталоге представлены изделия, которые отвечают всем стандартам качества и обладают высоким показателем износоустойчивости.
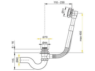
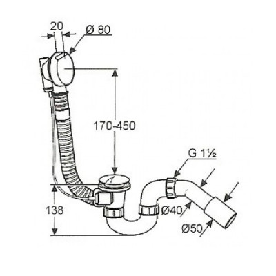
Конструкция слив-перелива состоит из патрубков, плотно соединенных между собой и обеспечивающих необходимую герметичность. Когда вода достигает соответствующего отверстия при неконтролируемой подаче, излишки стекают в пластиковые или гибкие шланги и уходят через канализационную трубу.
Гофрированная трубка является практичным вариантом, так как в условиях малой площади помещения она сгибается и выводится в любом направлении. Дополнительно устройство оснащается сифоном, который убирает неприятный запах, исходящий из водосточных труб. Наружные детали системы изготавливаются из нержавеющей или оцинкованной стали, что соответствует высокому ее качеству и долговечности.
При покупке системы следует обращать внимание на качественное выполнение всех элементов и механизмов, а также на наличие специальных уплотнителей и манжет. Производителями выпускаются стандартные пластиковые варианты, а также модели из дорогих металлов с нанесенным орнаментом или гравировкой.
Существуют такие типы систем слив-перелив:
- обычный сифон с заглушкой;
- полуавтоматическая система;
- автоматический механизм слива.
Определенный вид отличается преимуществами и недостатками, однако их применение зависит от конструктивных особенностей и индивидуальной необходимости.
Автоматическая система
Характерным отличием слива-автомат является сложное устройство с наличием клапанной кнопки типа «клик-клак», оснащенной фиксатором и пружиной. Среди преимуществ системы можно выделить:
- удобство спуска воды;
- компактность конструкция;
- практичность и эффективность в различных случаях;
- привлекательный внешний дизайн.
Данная система нередко оснащается дополнительной функцией по наполнению чаши водой. Она подходит в случае, когда нет возможности установить смеситель.
Полуавтоматическая конструкция
Наиболее практичными считаются системы по типу полуавтомат. Их конструктивное решение отличается наличием блока управления с внешней стороны решетки переливного отверстия. Устройство предназначено для регулировки натяжения специального тросика. Один край соединен с блоком, а второй – со сливной пробкой при помощи штока на манжете, при этом заглушка прочно соединена с системой как единый механизм.
Блок управления всегда размещается с обратной стороны отверстия и представляется в разном конструктивном виде:
- рукоятка с накладкой;
- кнопка;
- поворотное кольцо.
Для открывания слива в днище чаши не требуется погружать руку в воду, следует повернуть кольцо или ручку с торцевого бортика ванны. Она натянет (для закрывания слива) или ослабит (для спуска воды) соответствующий тросик, подняв пробку.
Материалы
Сегодня производители предпочитают использовать пластик и цветные металлы. Первые отличаются доступной стоимостью и применяются в ванных с инсталляцией. Металлические системы превосходят пластиковые в долговечности и качестве исполнения. Бронзовые, латунные или медные приборы имеют интересный дизайн и конструкцию.
Определить, из какого металла выполнена система можно самостоятельно:
- бронза – твердый металл темно-коричневого цвета, состоящий из олова и меди;
- латунь – прочный сплав меди с цинком желтого цвета;
- медь – умеренно пластичная и мягкая, отличается красноватым оттенком.
Полуавтоматические и автоматические устройства отличаются от обычных наличием специальных механизмов, которые открывают и закрывают сливное отверстие при помощи клапана, а не съемной пробки.
В нашем интернет – магазине вы можете посмотреть и купить слив-перелив для ванной, который отличается современным дизайном и высоким качеством исполнения.




































































